
Description
Innerscene's Virtual Sun system offers cutting-edge simulations of natural daylight and moonlit skies at any time. Harnessing patented technology, it offers lifelike views through an infinite-depth skylight or window, aligns with circadian rhythms, and boasts straightforward installation.
The advanced technology simulates physiological and emotional responses akin to natural daylight without exterior access. Applicable in fields like education, entertainment, healthcare, and more.
Innerscene's system removes design limitations, offering a tailored virtual daylight experience that enhances well-being.
FIXTURE LISTINGS & CERTIFICATIONS


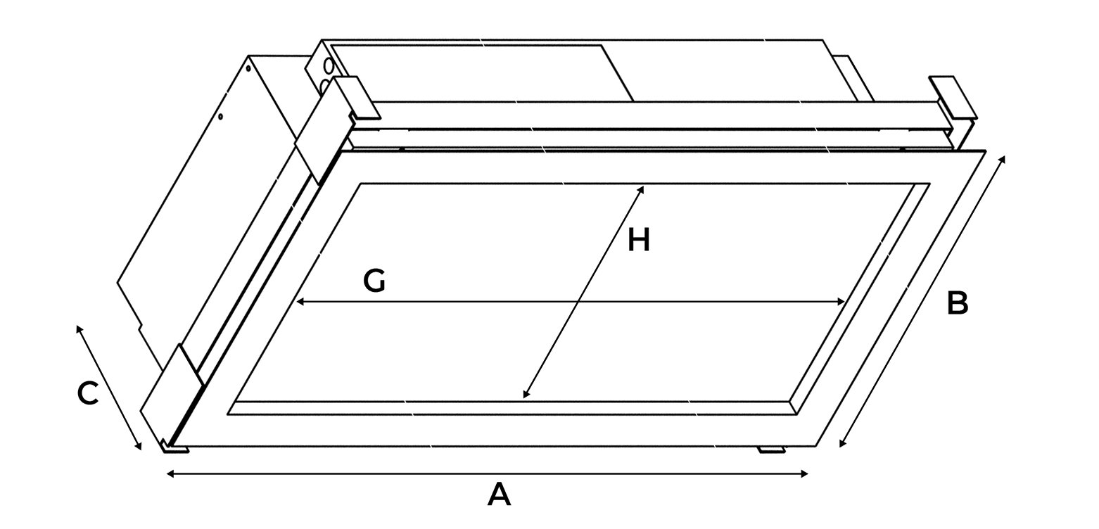
DIMENSIONS (inches)

| LENGTH | WIDTH | DEPTH | DRYWALL CUT-OUT | JOIST SPACING FACE-FACE | WINDOW DIMENSIONS | |||
|---|---|---|---|---|---|---|---|---|
| TRIM DIMENSIONS | ||||||||
| A | B | C | D | E | F | G | H | |
| DRYWALL | 41ʺ | 21.7ʺ | 11ʺ | 38.3ʺ | 20.9ʺ | 21.5ʺ to 24.5ʺ | 36.1ʺ | 16.8ʺ |
| ACT TIGHT ARRAY | 48ʺ | 24ʺ | 11ʺ | N/A | N/A | N/A | 36.1ʺ | 16.8ʺ |
| ACT INDIVIDUAL FIXTURE | 48.9ʺ | 24.9ʺ | 11ʺ | N/A | N/A | N/A | 36.1ʺ | 16.8ʺ |
| ACT BEVELLED | 47.75ʺ | 23.75ʺ | 15ʺ | N/A | N/A | N/A | 36.1ʺ | 16.8ʺ |


Specifications
| CRI | 90+ |
|---|---|
| DELIVERED LUMENS | IC-NON-IC 4,455 LUMENS IC-RATED 3,796 LUMENS |
| PERCEPTIBLE FLICKER | FLICKER-FREE • WELL V2 FEATURE 8 COMPLIANT |
| CAMERA FLICKER | 25KHZ PWM DIMING INSURES NO FLICKER EVEN ON MOBILE PHONE CAMERAS |
| VERTICAL MOUNTING | STUD OR MANSORY WALLS |
| INSULATION CONTACT | NON-IC (STANDARD) IC (OPTION) |
|---|---|
| INTEGRAL DRIVER | YES, REMOTE OPTIONAL |
| ELECTRICAL | 90-277V 50-60HZ PF > 0.9 |
| COLOR TEMPERATURE | TUNABLE 3,200K TO 200,000K |
| AMBIENT TEMP RANGE | 32-104°F (NON-IC), 32-77°F (IC), NON-CONDENSING |
| WATTAGE | NON-IC 155W / IC 115W |











